{"product":{"productId":"agid.24266","price":502.96,"name":"Side clamp with cam"},"currency":"PLN"}
	Material
								Carbon steel.
							Version
								Black oxidised.
							
						Show more 
					
						Show less 
				
			
				Description
							Material
						
						
								Carbon steel.
					
							Version
						
						
								Black oxidised.
					
							Assembly
						
						
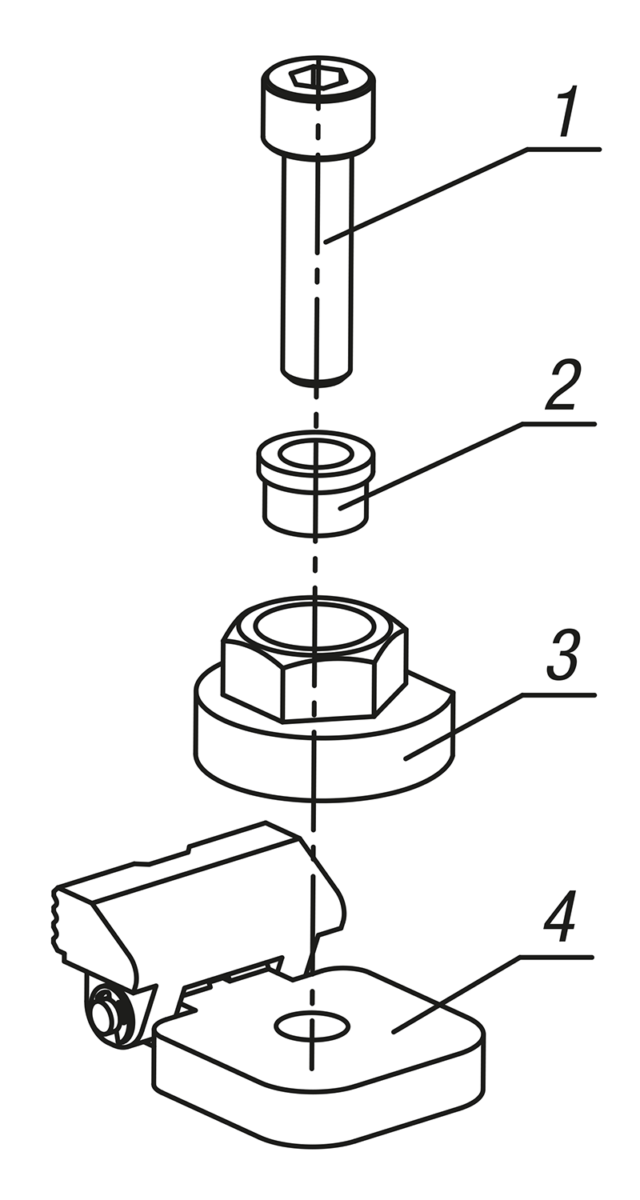
								1. Screw the locking screw into the collar bush, fixture clamp and clamping unit and screw onto the baseplate.
2. The workpiece is clamped by tightening the fixture clamp with a spanner.
					2. The workpiece is clamped by tightening the fixture clamp with a spanner.
							Advantages
						
						
								- Compact design
- Quick and easy clamping of components
- Pull-down effect
					- Quick and easy clamping of components
- Pull-down effect
							Drawing reference
						
						
								1) Locking screw
2) Collar bush
3) Fixture clamp
4) Clamping unit
					2) Collar bush
3) Fixture clamp
4) Clamping unit
            Important note on downloading CAD models
        In order to download our CAD models, you must log in first. If you have not created an account yet, please register under "My Account" (right side of the screen) and follow the instructions.
        
        
        
     
                         
                         
                         
                         
                         
                         
			
                     
			
                     
			
                     
			
                     
			
                     
			
                     
			
                     
			
                     
			
                     
			
                     
			
                     
			
                     
			
                     
			
                     
			
                     
			
                     
			
                     
			
                     
			
                    