{"product":{"productId":"agid.20466","price":33.04,"name":"Locking pins, stainless steel with plastic grip and magnetic axial lock"},"currency":"PLN"}
Material
Grip thermoplastic.
Steel parts 1.4305 stainless steel.
Magnet NdFeB.
Version
Grip black.
Stainless steel bright.
Stainless steel bright.
Show more
Show less
Description
Material
Grip thermoplastic.
Steel parts 1.4305 stainless steel.
Magnet NdFeB.
Version
Grip black.
Stainless steel bright.
Stainless steel bright.
Note
The locking pins with magnetic axial lock are used for fast and easy fixating and joining of parts and workpieces.
Magnets integrated into the grip ensure axial positioning and hold the locking pin in the inserted position.
Smooth surfaces and a perpendicular insertion bore have a positive effect on the retaining forces.
Optional retainer systems can be used to make the locking pins captive.
Shear force double-shear (F) = S · τ aB max.
Magnets integrated into the grip ensure axial positioning and hold the locking pin in the inserted position.
Smooth surfaces and a perpendicular insertion bore have a positive effect on the retaining forces.
Optional retainer systems can be used to make the locking pins captive.
Shear force double-shear (F) = S · τ aB max.
On request
Other pin lengths.
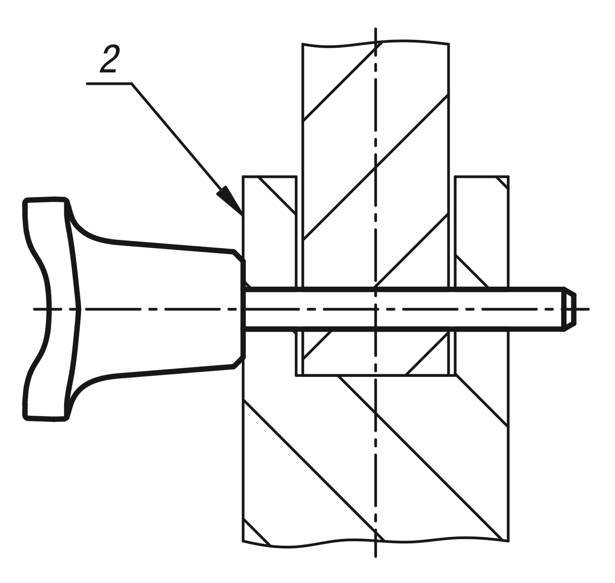
Drawing reference
1) Magnet
2) Steel part/workpiece
2) Steel part/workpiece
Accessory
Safety spiral cable 03199....
Retaining cable with loop 03199....
Key ring 03199....
Ball chains 96390....
Retaining cable with loop 03199....
Key ring 03199....
Ball chains 96390....
Important note on downloading CAD models
In order to download our CAD models, you must log in first. If you have not created an account yet, please register under "My Account" (right side of the screen) and follow the instructions.