{"product":{"productId":"agid.18058","price":51.97,"name":"Quarter-turn locks with cam tongue"},"currency":"PLN"}
Material
Housing, actuator and tongue die-cast zinc.
Nut steel.
Flat seal rubber.
Nut steel.
Flat seal rubber.
Version
Housing and actuator trivalent passivated.
Tongue blank.
Nut electro zinc-plated.
Tongue blank.
Nut electro zinc-plated.
Show more
Show less
Description
Material
Housing, actuator and tongue die-cast zinc.
Nut steel.
Flat seal rubber.
Nut steel.
Flat seal rubber.
Version
Housing and actuator trivalent passivated.
Tongue blank.
Nut electro zinc-plated.
Tongue blank.
Nut electro zinc-plated.
Note
Quarter-turn locks with stepped cam are primarily used for doors and housings that require a higher pressure force on the seal. For right or left use. The locking process is always clockwise. The compression gap can be increased incrementally up to 9.5 mm at a maximum turning angle of 270° by turning the actuator clockwise.
Protected from water and dust to IP65.
Protected from water and dust to IP65.
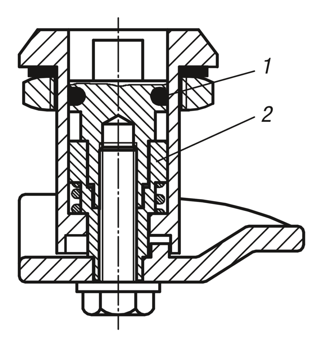
Drawing reference
Actuation:
a) square 7 mm
b) double lug 3 mm
c) double lug 5 mm
1) O-ring
2) Adapter
a) square 7 mm
b) double lug 3 mm
c) double lug 5 mm
1) O-ring
2) Adapter
Accessory
Lock key 05586
Important note on downloading CAD models
In order to download our CAD models, you must log in first. If you have not created an account yet, please register under "My Account" (right side of the screen) and follow the instructions.